槽式橋架彎頭的做法
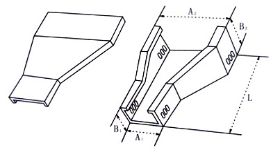
電纜槽式橋架彎頭示意圖
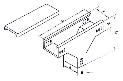
槽式橋架彎頭和附件的做法
槽式橋架彎頭和彎通系列制作成果展示
鋁合金水平彎通和三通橋架型號表
橋架彎頭制作公式
垂直彎通橋架型號規格
水平彎通橋架型號規格
橋架各種彎頭示意圖
水平四通梯級式橋架型號表
橋架彎頭45°做法圖解
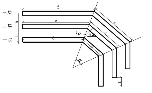
多層等間距等高電纜橋架任意角彎頭制作方法
單個彎頭的制作方法
1. 首先根據實際情況確定預制作彎頭形狀、量出a、c值,算出α的值;
2. 然后算出下料尺寸x;
3. 上圖為水平彎頭的制作方法,b位橋架寬度;當制作垂直彎頭時,b位橋架的高度;
4. 特殊角的下料尺寸x情況如下:
當α為30°時,x=0.536b;當α為45°時,x=0.828b;當α為60°時,x=1.154b;
槽式橋架彎頭通用制作方法及步驟
本圖的角α值同“一”中角α值;本圖的b值與“一”中的b值不同,為層間距值。
1、制作第一層彎頭:
第一層兩個彎頭的做法同“一”中彎頭的做法,兩個彎頭間距a值由現場確定,但需滿足電纜彎曲半徑的要求。
2、制作第二層彎頭:
(1)計算第二層橋架第一個彎頭的定位尺寸e:
首先量出第一層橋架定位尺寸d值,則
e=d+btg1/2α
式中:b為層間距,角α值同“一”中角α值
(2)依照“一”的方法制作第二層彎頭的第1個切口α;
(3)計算兩個彎頭間距c值:
c=2btg1/2α+a
式中:b為層間距,a為第一層橋架兩個彎頭的間距
(4)依照“一”的方法制作第二層彎頭的第2個切口α;
(5)計算補償尺寸h:h=2 btg1/2α
3、制作第三層彎頭:
制作方法同第二層彎頭
f=e+btg1/2αg=2btg1/2α+c
注:多列等間距等寬橋架任意角彎頭的制作方法與多層等間距等高橋架任意角彎頭的制作方法相同。
多層“之”形彎頭的作法:
與“二”類似,只是a、c、g值相等,所切的兩個α角在橋架的兩邊

- 上一篇:圓弧橋架的安裝施工方法 2017/7/14
- 下一篇:如何計算電纜橋架的尺寸 2017/6/20
